How Close Can I Put A Fence To My Property Line
How Close Can I Build A Fence To My Property Line
How To Find Property Lines When Building A Fence Or Extending Inch Calculator
Understanding Ohio S Line Fence Law The D B Blog
Https Www Cityofmadison Com Dpced Bi Documents Fences Pdf
Navigating Ohio S Line Fence Law Morning Ag Clips
Http Www Richmondheightsohio Org Pdf Richmondheights En Us Forms Fencepermitapplication Pdf
How Close Can You Install A Fence To Your Property Line
Https Wadsworthcity Com Documentcenter View 3373
The Basics Of Building Barbed Wire Or High Tensile Barbed Wire Wire Fence Barbed Wire Fencing Building A Fence
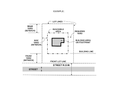
16 36 110 Setback Regulations And Exceptions
230 88 Fencing And Yards
Https Www Delhitownship Com Documentcenter View 186
Chapter 118 Land Use Regulations Code Of Ordinances Fort Myers Fl Municode Library
Property Lines Everything You Need To Know Rocket Mortgage
Zoning Faq S Walnut Township Fairfield County Ohio
American Pillar Natural Privacy Fences Privacy Plants Privacy Landscaping
Project Categories Construction Fence
What To Do About Neighbor Disputes Over Property Line Fence
19 20 150 Setback Measurement And Projections Into Yards